Indiscreto
Dal 2000 il sito indipendente diventato un punto di riferimento per gli appassionati di cultura pop e di sport. Attualità, commenti, analisi, interviste e approfondimenti. Una vasta community di lettori, attiva e di qualità.
Belinelli ci ha creduto davvero
I Philadelphia 76ers sono la nona squadra di Marco Belinelli in undici stagioni di NBA: di solito questo continuo cambiare maglia non è un indicatore di grande qualità, anzi è il primo marchio del mestierante (al di là del fatto che la no-trade classe ce l' abbiano in pochi e che quindi quasi mai si è [' ]
Il senso di Smeltz per il gol
Premessa per i lettori di Indiscreto: siamo in purissima zona Ridge Bettazzi. Alzi la mano chi si ricorda di Shane Smeltz, l’attaccante neozelandese che a 36 ha appena lasciato il calcio dopo una carriera a livello di club quasi tutta vissuta in Oceania e molto significativa in nazionale, dove in 55 apparizioni ha segnato 24 [' ]
Il Muro di Sanremo 2018
Commenti sul Festival di Sanremo 2018, a grande richiesta del paese reale che già decretò il successo del Muro 2017. Da Claudio Baglioni a Nina Zilli, passando per Ornella Vanoni, Ron, Decibel, Kolors, Noemi, Luca Barbarossa, eccetera: si sa che l' Uomo Indiscreto non guarda la televisione, perché ha di meglio da fare (tipo salvare il [' ]
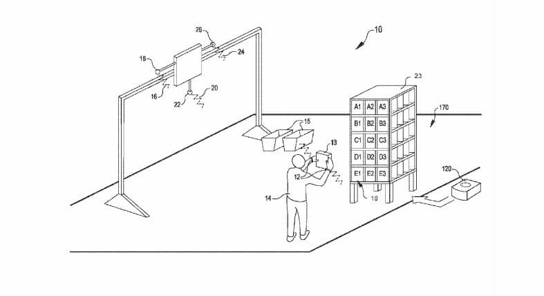
Il braccialetto di Amazon siamo noi
Negli ultimi giorni si è parlato molto del braccialetto che Amazon potrebbe mettere al polso dei suoi dipendenti nel settore della logistica, per monitorare e per così dire ottimizzare i loro movimenti. A quanto sostiene l' azienda è soltanto una possibilità futura, per quanto resa più credibile dal deposito di un brevetto (da leggere l' articolo originale [' ]
L’assassinio di Gianni Versace e la quotidianità gay
Troviamo profondamente ingiusto che muoiano le persone di talento, come Gianni Versace e poche centinaia di altre in tutto il pianeta. Gente che ha qualcosa da dire e da dare, non subumani che si trascinano stancamente verso la pensione sperando che la loro squadra vinca o in un colpo di mercato del presidente. Per questo [' ]
L’Italia dove vincevano tutti
La morte di Azeglio Vicini, a quasi 85 anni, ci fa dare l’addio a un uomo che per tutti, tranne che per familiari e amici stretti, sarà per sempre il commissario tecnico dell’Italia al Mondiale del 1990. Un selezionatore ‘condiviso’ come Prandelli, Zoff e Bearzot, mai percepito dall' opinione pubblica come uno di parte. Una specie [' ]
Chi sbagliò fra Zenga e Ferri?
Il gol di Caniggia nella semifinale di Italia ' 90 ha, dal punto di vista di Azeglio Vicini, fatto la differenza fra una brava persona che ha compiuto il suo dovere, fra buone intuizioni ed errori, e un condottiero mascelluto da statua equestre. La domanda è di quelle sponsorizzate Simply, del tutto degna del Champions Pub: [' ]
Buffon senza bisogno di storytelling
Le celebrazioni per i quaranta anni di Gigi Buffon hanno avuto un po’ il sapore del monumento alla memoria, per un giocatore che nella classifica 2017 (non 1997, non 2007: premio all' immagine forse, ma ditelo a chi non è stato nemmeno considerato) del Pallone d’Oro è arrivato dietro soltanto a CR7, Messi e Neymar e [' ]
Il Muro del Calcio 2018.1 (il Muro di Vicini)
Interventi su calcio e dintorni dal gennaio 2018 all' eternità, o almeno fino a quando saremo in regola con il pagamento dell' hosting'
Quarant’anni di Space Invaders
Il compleanno di Space Invaders ci ricorda che sono passati quarant' anni da quando un simpatico tamarro quindicenne, coltello alla mano (ma onestamente non sarebbe servito), aspettò che finissimo la partita al bar di via Gulli per chiedere ed ottenere mille lire, con la motivazione in effetti molto forte che ' Non ho i soldi per giocare' . [' ]









